华为手机小组件解压按钮使用教程(快速学会华为手机小组件解压功能,提升手机使用体验) 随着智能手机的普及,华为手机作为其中一种优秀的品牌,其功能日益强大。其中小组件解压按钮是一项非常实用的功能,本文将为大家详细介绍华为手机小组件解压按钮的使用方法,帮助读者提升手机使用的便利性和效率。...
笔记本电脑频繁蓝屏重启的原因分析及解决方法(探究笔记本电脑频繁蓝屏重启现象的根源以及有效解决方案) 随着科技的不断发展,笔记本电脑已经成为我们日常生活中必不可少的工具之一。然而,有时我们会遇到笔记本电脑频繁蓝屏重启的情况,不仅给我们的工作和学习带来困扰,更可能导致数据丢失和设备损坏。了解蓝屏重启的原因以及如何解决这个问题是非常重要的。...
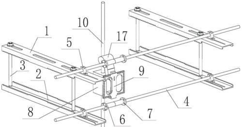
DIY电脑支架修理教程(轻松学习修理电脑支架,让你的工作环境更加整洁) 电脑支架在现代办公环境中扮演着重要的角色,它能够帮助我们更好地组织工作区域,提高工作效率。然而,随着时间的推移和使用频率的增加,电脑支架很容易出现损坏或松动的情况。本文将为大家介绍一些简单的修理技巧,帮助你轻松解决电脑支架问题。...
如何利用华为手机制作试卷教程(华为手机试卷制作教程详解) 在数字化时代,利用手机进行各种工作和学习已成为常态。华为手机作为一款功能强大的智能手机,不仅可以用来打电话、上网,还可以利用其丰富的应用程序来制作试卷。本文将详细介绍如何使用华为手机来制作试卷教程,助你更加高效地完成工作和学习。...
电脑排版设计衣服教程(以设计软件为工具,轻松打造时尚服饰) 现代社会注重个性和时尚,设计自己的服装已成为一种流行趋势。利用电脑排版软件来设计衣服,不仅能够提高效率,还能更好地表达创意和实现个性化。本文将从设计工具的选择、创意构思、布局设计以及细节优化等方面,为大家详细介绍以电脑排版设计衣服的方法与技巧。...
华为手机摄影教程(解锁摄影新境界,华为手机助你成为摄影大师) 在如今的数字时代,手机成为我们生活中必不可少的工具。而华为手机以其出色的摄影功能,成为许多人的首选。本文将以华为手机摄影教程为主题,向大家介绍如何利用哔哩哔哩平台探索创意拍摄技巧,助你在摄影领域获得突破。...
苹果手机隐藏空间教程(教你如何使用苹果手机的隐藏空间功能保护个人隐私) 在现代社会,个人隐私的保护变得越来越重要。为了保护我们的隐私,苹果手机提供了隐藏空间功能,可以帮助我们存储和隐藏一些私人的照片、文件和应用程序。本文将详细介绍如何使用苹果手机的隐藏空间功能,以及如何最大限度地保护个人隐私。...
华为手机教程(华为手机教程,男生动态壁纸设置技巧大公开!) 华为手机作为中国领先的智能手机品牌,受到了众多用户的喜爱。其中,动态壁纸是华为手机的一大特色之一,它能够为用户提供丰富多样的个性化选择。本文将为大家详细介绍如何在华为手机上设置男生动态壁纸,并提供一些技巧,帮助你打造独一无二的手机界面。...
电脑系统重装一半蓝屏问题的解决方法(遇到电脑系统重装过程中蓝屏错误?不要慌!这里有办法解决!) 电脑系统重装是一种常见的解决电脑问题的方法,但在重装过程中遇到蓝屏错误是很令人沮丧的。这种情况经常发生,但幸运的是,我们可以通过一些方法来解决。本文将分享15种解决电脑系统重装一半蓝屏问题的方法,帮助您顺利完成系统重装。1.检查硬件兼容性...
电脑系统重装后彻底蓝屏了,如何解决?(遇到电脑系统蓝屏,快速找到问题并解决!) 电脑系统蓝屏是很常见的问题,尤其是在重装系统后。当我们重装系统后遇到蓝屏问题时,很容易感到无助和困惑。但是,不要担心,本文将为您介绍如何快速找到问题并解决电脑系统重装后的蓝屏问题。...